Legal basis (in Polish law)

§ 97.1. Pomieszczenia przeznaczone do składowania lub stosowania materiałów niebezpiecznych pod względem pożarowym lub wybuchowym oraz pomieszczenia, w których istnieje niebezpieczeństwo wydzielania się substancji sklasyfikowanych jako niebezpieczne, powinny być wyposażone w:
1) urządzenia zapewniające sygnalizację o zagrożeniach;

§ 9.1. Maszynownię i aparatownię wyposażoną w aparaturę umożliwiającą ciągłą kontrolę stężeń amoniaku w powietrzu i sygnalizującą przekroczenie wartości najwyższego dopuszczalnego stężenia oraz najwyższego dopuszczalnego stężenia chwilowego amoniaku w powietrzu, wchodzącą w skład amoniakalnej instalacji chłodniczej, dopuszcza się bez stałej obsługi.

§ 7. 1. Pomieszczenia, w których w czasie procesu technologicznego wydziela się dwutlenek węgla lub inne gazy albo w których otwierane są zbiorniki zawierające dwutlenek węgla lub inne gazy, wyposaża się w:
1) wentylację mechaniczną do ich usuwania;
2) system wentylacji awaryjnej, zapewniający co najmniej 10-krotną wymianę powietrza w ciągu godziny;
3) stacjonarne analizatory, sygnalizujące sygnałem świetlnym albo dźwiękowym o przekroczeniu dopuszczalnych wartości stężeń dwutlenku węgla lub innych gazów.

§ 7. 2. Uruchamianie wentylacji mechanicznej w pomieszczeniu fermentowni odbywa się przy użyciu wyłącznika umieszczonego przed wejściem do tego pomieszczenia.

§ 7. 3. W przypadku chłodzenia pomieszczeń amoniakiem, w szczególności przy użyciu amoniakalnego urządzenia chłodniczego, pomieszczenia te wyposaża się w system wentylacji awaryjnej i stacjonarne analizatory, sygnalizujące sygnałem świetlnym lub dźwiękowym o przekroczeniu wartości najwyższego dopuszczalnego stężenia amoniaku.

§ 7. 4. Przed wejściem pracownika do pomieszczenia, w którym występują gazy toksyczne, na co najmniej 15 minut włącza się system wentylacji awaryjnej i obserwuje się wskazania analizatorów.

§ 7. 5. Przed wejściem pracownika do kadzi fermentacyjnych, tanków lub kuf:
1) przewietrza się je;
2) dokonuje się pomiarów stężeń dwutlenku węgla lub innych gazów.

§ 1. 1. Ustala się wartości najwyższych dopuszczalnych stężeń chemicznych i pyłowych czynników szkodliwych dla zdrowia w środowisku pracy, określone w wykazie stanowiącym załącznik nr 1 do rozporządzenia.
2. Ustala się wartości najwyższych dopuszczalnych natężeń fizycznych czynników szkodliwych dla zdrowia w środowisku pracy, określone w wykazie stanowiącym załącznik nr 2 do rozporządzenia.

§ 2. Wartości, o których mowa w § 1 ust. 1, określają najwyższe dopuszczalne stężenia czynników szkodliwych dla zdrowia, ustalone jako:
1) najwyższe dopuszczalne stężenie (NDS) — wartość średnia ważona stężenia, którego oddziaływanie na pracownika w ciągu 8-godzinnego dobowego i przeciętnego tygodniowego wymiaru czasu pracy, określonego w ustawie z dnia 26 czerwca 1974 r. – Kodeks pracy, przez okres jego aktywności zawodowej nie powinno spowodować ujemnych zmian w jego stanie zdrowia oraz w stanie zdrowia jego przyszłych pokoleń;
2) najwyższe dopuszczalne stężenie chwilowe (NDSCh) — wartość średnia stężenia, które nie powinno spowodować ujemnych zmian w stanie zdrowia pracownika, jeżeli występuje w środowisku pracy nie dłużej niż 15 minut i nie częściej niż 2 razy w czasie zmiany roboczej, w odstępie czasu nie krótszym niż 1 godzina;
3) najwyższe dopuszczalne stężenie pułapowe (NDSP) — wartość stężenia, która ze względu na zagrożenie zdrowia lub życia pracownika nie może być w środowisku pracy przekroczona w żadnym momencie.

Cześć 1: Wymagania podstawowe, definicje, klasyfikacja i kryteria wyboru.

Rozdział 3
Terminy i definicje

3.8.7. Wykrywacz czynnika chłodniczego – czujnik, który reaguje na wcześniej ustalone stężenia gazu czynnika chłodniczego w środowisku.

Część 3: Usytuowanie instalacji i ochrona osobista.

Rozdział 7
Urządzenia alarmowe

7.1. Postanowienie ogólne. W przypadku gdy w maszynowni i/lub w przestrzeni użytkowej zastosowano alarm w celu ostrzegania o wycieku czynnika ziębniczego, powinien on ostrzegać o wycieku czynnika w sposób zgodny z 7.3.

7.3. Sygnały ostrzegawcze instalacji alarmowej. Instalacja alarmowa powinna generować sygnały ostrzegawcze zarówno akustyczne, jak i świetlne. (…) Instalacja alarmowa powinna wysyłać sygnały ostrzegawcze zarówno do wewnątrz, jak i na zewnątrz maszynowni.

Rozdział 8
Wykrywacze

8.1. Postanowienia ogólne. (…) Zadaniem instalacji wykrywającej dowolne czynnik ziębnicze (…) jest podnoszenie alarmów i uruchamianie wentylacji w przypadku, gdy stężenie czynnika ziębniczego przekroczy 25 % LFL lub 50 % wartości stosunku ATEL/ODL.
8.2. Miejsce zamontowania wykrywaczy należy wybierać w zależności od czynnika ziębniczego, do którego są przeznaczone. Powinny być one umieszczane w miejscach, w których będzie się gromadzić czynnik ziębniczy wydostający się z instalacji przez nieszczelności.

Detected substance/property

Substance/property:
ammonia (NH3) §
Hazard:
toxic gas (explosive in high concentrations)
LEL (lower explosive limit):
15.0 %v/v
TWA (time-weighted average):
14.0 mg/m3
STEL (short-term exposure limit):
28.0 mg/m3
Density relative to air:
0.59

Location of detectors

  1. Work environment protection: in the personnel area, 1.6-1.8 m above floor level. Alarm thresholds set for the values of TWA and STEL (20/40 ppm)
  2. Refrigerant leakage signalling: at the highest point of the room - under the ceiling and/or in spaces restricted by structural barriers preventing free movement of the gas (stringers, skylights, etc.); lower edge of the detector approx. 30 cm below the highest point. Alarm thresholds with values of 500/1500 ppm.
  3. In a place not at risk of direct exposure to outside air, water vapour, liquids, oily vapours, flue gases.
  4. Away from supply air vents, window and door openings.

Standard configurations of gas detection systems

Example 1
System topology
Star
Supply voltage of the control unit
230 V AC
Control unit
MD-2
Maximum number of gas detectors
2
Emergency power backup


Sensor electrochemical
Type of device: DG/F — Threshold detectors of toxic and combustible gases (also oxygen and refrigerants) with splash-proof construction
Type of device: MD-1, MD-2, MD-4 — Control and power supply units for 1 or up to 2/4 of DEX/F, DEX/A, DG/F or DG.EN threshold gas detectors
Type of device: SL-32 — Visual and acoustic warning devices for visual and acoustic signalling of alarm conditions
Type of device: GSM — Devices designed for remote monitoring of gas detection system status
Type of device: SW-20 — Double switches for 230 AC power supply
Example 2
System topology
Star
Supply voltage of the control unit
230 V AC
Control unit
MD-4
Maximum number of gas detectors
4
Emergency power backup


Sensor semiconductor
Type of device: DEX/F — ATEX compliant, threshold detectors of toxic and combustible gases (also oxygen and refrigerants)

Sensor electrochemical
Type of device: DG/F — Threshold detectors of toxic and combustible gases (also oxygen and refrigerants) with splash-proof construction
Type of device: MD-1, MD-2, MD-4 — Control and power supply units for 1 or up to 2/4 of DEX/F, DEX/A, DG/F or DG.EN threshold gas detectors
Type of device: SL-32 — Visual and acoustic warning devices for visual and acoustic signalling of alarm conditions
Type of device: GSM — Devices designed for remote monitoring of gas detection system status
Type of device: SW-20 — Double switches for 230 AC power supply
Example 3
System topology
Bus
Supply voltage of the control unit
24 V DC
Control unit
MDD-256/T
Maximum number of gas detectors
224
Emergency power backup


Sensor semiconductor
Type of device: DEX/F — ATEX compliant, threshold detectors of toxic and combustible gases (also oxygen and refrigerants)

Sensor electrochemical
Coming soon
Type of device: DG/M — Concentration measurement and detection devices for toxic and combustible gases (also oxygen and refrigerants) with splash-proof construction and RS-485 bus connectivity

Sensor electrochemical
Discontinued
Type of device: DG/MR — Threshold detectors of toxic and combustible gases (also oxygen and refrigerants) with splash-proof construction, RS-485 bus connectivity, and relay outputs
Type of device: MDD-1x/T — Addressable executive units and power supply for one DEX/F, DG/F, DG.EN or DEX/A detector, TS35 rail mounting
Type of device: MDD-256/T — Addressable control units for supervision of the Digital Gas Detection System, TS35 rail mounting
Type of device: MDD-L32/T — Addressable executive units for status visualization of 32 detectors, TS35 rail mounting
Type of device: MDD-N1 — Addressable alarm input connection units for connecting any dual-threshold gas detection system to a Digital Gas Detection System
Type of device: MDD-S2 — Addressable alarm output units for controlling visual and acoustic warning devices
Type of device: SL-32 — Visual and acoustic warning devices for visual and acoustic signalling of alarm conditions
Type of device: PU/T — Switch-mode universal power supplies, TS35 rail-mounted
Type of device: CB — RS-485 bus terminal boxes designed for use in Digital Gas Detection System
Type of device: MDD-CV/T — Digital signal converter allows to connect any PC/laptop to the RS-485 port of the MDD-256/T type supervisory control module
Modular switchgear with TS35 rails, equipped and wired according to customer requirements (ready for installation)

Attachments

Legal basis (in Polish law)

§ 1. 1. Ustala się wartości najwyższych dopuszczalnych stężeń chemicznych i pyłowych czynników szkodliwych dla zdrowia w środowisku pracy, określone w wykazie stanowiącym załącznik nr 1 do rozporządzenia.
2. Ustala się wartości najwyższych dopuszczalnych natężeń fizycznych czynników szkodliwych dla zdrowia w środowisku pracy, określone w wykazie stanowiącym załącznik nr 2 do rozporządzenia.

§ 2. Wartości, o których mowa w § 1 ust. 1, określają najwyższe dopuszczalne stężenia czynników szkodliwych dla zdrowia, ustalone jako:
1) najwyższe dopuszczalne stężenie (NDS) — wartość średnia ważona stężenia, którego oddziaływanie na pracownika w ciągu 8-godzinnego dobowego i przeciętnego tygodniowego wymiaru czasu pracy, określonego w ustawie z dnia 26 czerwca 1974 r. – Kodeks pracy, przez okres jego aktywności zawodowej nie powinno spowodować ujemnych zmian w jego stanie zdrowia oraz w stanie zdrowia jego przyszłych pokoleń;
2) najwyższe dopuszczalne stężenie chwilowe (NDSCh) — wartość średnia stężenia, które nie powinno spowodować ujemnych zmian w stanie zdrowia pracownika, jeżeli występuje w środowisku pracy nie dłużej niż 15 minut i nie częściej niż 2 razy w czasie zmiany roboczej, w odstępie czasu nie krótszym niż 1 godzina;
3) najwyższe dopuszczalne stężenie pułapowe (NDSP) — wartość stężenia, która ze względu na zagrożenie zdrowia lub życia pracownika nie może być w środowisku pracy przekroczona w żadnym momencie.

Cześć 1: Wymagania podstawowe, definicje, klasyfikacja i kryteria wyboru.

Rozdział 3
Terminy i definicje

3.8.7. Wykrywacz czynnika chłodniczego – czujnik, który reaguje na wcześniej ustalone stężenia gazu czynnika chłodniczego w środowisku.

Część 3: Usytuowanie instalacji i ochrona osobista.

Rozdział 7
Urządzenia alarmowe

7.1. Postanowienie ogólne. W przypadku gdy w maszynowni i/lub w przestrzeni użytkowej zastosowano alarm w celu ostrzegania o wycieku czynnika ziębniczego, powinien on ostrzegać o wycieku czynnika w sposób zgodny z 7.3.

7.3. Sygnały ostrzegawcze instalacji alarmowej. Instalacja alarmowa powinna generować sygnały ostrzegawcze zarówno akustyczne, jak i świetlne. (…) Instalacja alarmowa powinna wysyłać sygnały ostrzegawcze zarówno do wewnątrz, jak i na zewnątrz maszynowni.

Rozdział 8
Wykrywacze

8.1. Postanowienia ogólne. (…) Zadaniem instalacji wykrywającej dowolne czynnik ziębnicze (…) jest podnoszenie alarmów i uruchamianie wentylacji w przypadku, gdy stężenie czynnika ziębniczego przekroczy 25 % LFL lub 50 % wartości stosunku ATEL/ODL.
8.2. Miejsce zamontowania wykrywaczy należy wybierać w zależności od czynnika ziębniczego, do którego są przeznaczone. Powinny być one umieszczane w miejscach, w których będzie się gromadzić czynnik ziębniczy wydostający się z instalacji przez nieszczelności.

Detected substance/property

Substance/property:
carbon dioxide (CO2)
Hazard:
toxic gas
TWA (time-weighted average):
9000.0 mg/m3
STEL (short-term exposure limit):
27000.0 mg/m3
Density relative to air:
1.52

Location of detectors

  1. Detector mounting height: 0.3-0.5 m above floor level.
  2. In a place not at risk of direct exposure to outside air, water vapour, liquids, oily vapours, flue gases.
  3. Away from supply air vents, window and door openings.

Standard configurations of gas detection systems

Example 1
System topology
Serial (linear)
Supply voltage
230 V AC
Maximum number of gas detectors
Emergency power backup


Sensor infra-red
Type of device: WG/Fx — Threshold, autonomous detectors of explosive gases or vapors, toxic gases, oxygen (O2), or refrigerants, with splash-proof construction
Type of device: SL-32 — Visual and acoustic warning devices for visual and acoustic signalling of alarm conditions
Type of device: TP-4 — Internal LED warning boards to visually present the alarm status appearing at the control outputs
Type of device: TP-4 — Internal LED warning boards to visually present the alarm status appearing at the control outputs
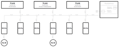
Example 2
System topology
Serial (linear)
Supply voltage
230 V AC
Maximum number of gas detectors
Emergency power backup


Sensor infra-red
While supplies last
Type of device: WG.EGx — Threshold, autonomous detectors for carbon dioxide (CO2), carbon monoxide (CO), oxygen (O2), combustible (LPG/CNG) gases or refrigerants
Type of device: SL-32 — Visual and acoustic warning devices for visual and acoustic signalling of alarm conditions
Type of device: TP-4 — Internal LED warning boards to visually present the alarm status appearing at the control outputs
Type of device: TP-4 — Internal LED warning boards to visually present the alarm status appearing at the control outputs
Example 3
System topology
Bus
Supply voltage of the control unit
24 V DC
Control unit
MDD-256/T
Maximum number of gas detectors
224
Emergency power backup


Sensor infra-red
Coming soon
Type of device: DG/M — Concentration measurement and detection devices for toxic and combustible gases (also oxygen and refrigerants) with splash-proof construction and RS-485 bus connectivity
Type of device: MDD-256/T — Addressable control units for supervision of the Digital Gas Detection System, TS35 rail mounting
Type of device: MDD-L32/T — Addressable executive units for status visualization of 32 detectors, TS35 rail mounting
Type of device: MDD-S2 — Addressable alarm output units for controlling visual and acoustic warning devices
Type of device: SL-32 — Visual and acoustic warning devices for visual and acoustic signalling of alarm conditions
Type of device: TP-4 — Internal LED warning boards to visually present the alarm status appearing at the control outputs
Type of device: TP-4 — Internal LED warning boards to visually present the alarm status appearing at the control outputs
Type of device: PU/T — Switch-mode universal power supplies, TS35 rail-mounted
Type of device: CB — RS-485 bus terminal boxes designed for use in Digital Gas Detection System
Type of device: MDD-CV/T — Digital signal converter allows to connect any PC/laptop to the RS-485 port of the MDD-256/T type supervisory control module
Modular switchgear with TS35 rails, equipped and wired according to customer requirements (ready for installation)

Attachments

Legal basis (in Polish law)

§ 97.1. Pomieszczenia przeznaczone do składowania lub stosowania materiałów niebezpiecznych pod względem pożarowym lub wybuchowym oraz pomieszczenia, w których istnieje niebezpieczeństwo wydzielania się substancji sklasyfikowanych jako niebezpieczne, powinny być wyposażone w:
1) urządzenia zapewniające sygnalizację o zagrożeniach;

Rozdział 1
Przepisy ogólne

Art. 12. 1. Stacjonarne urządzenia chłodnicze, klimatyzacyjne i pompy ciepła, agregaty chłodnicze w samochodach ciężarowych chłodniach i przyczepach chłodniach oraz stacjonarne systemy ochrony przeciwpożarowej, zawierające co najmniej 3 kg substancji kontrolowanych, sprawdzane są pod względem wycieków zgodnie z art. 23 rozporządzenia (WE) nr 1005/2009.
2. Stacjonarne urządzenia chłodnicze, klimatyzacyjne i pompy ciepła, agregaty chłodnicze w samochodach ciężarowych chłodniach i przyczepach chłodniach oraz stacjonarne systemy ochrony przeciwpożarowej, a także rozdzielnice elektryczne i organiczne obiegi Rankine’a, zawierające co najmniej 5 ton ekwiwalentu CO2 fluorowanych gazów cieplarnianych sprawdzane są pod względem wycieków zgodnie z art. 4 rozporządzenia (UE) nr 517/2014.

Rozdział 2
Obowiązek prowadzenia dokumentacji przez operatorów urządzeń i systemów ochrony przeciwpożarowej

Art. 14. 1. Dokumentację, o której mowa w art. 6 ust. 1 rozporządzenia (UE) nr 517/2014 oraz art. 23 ust. 3 rozporządzenia (WE) nr 1005/2009, dla stacjonarnych urządzeń chłodniczych i klimatyzacyjnych, pomp ciepła, urządzeń będących agregatami chłodniczymi w samochodach ciężarowych chłodniach i przyczepach chłodniach, urządzeń będących organicznymi obiegami Rankine’a, zawierających co najmniej 3 kg substancji kontrolowanych lub co najmniej 5 ton ekwiwalentu CO2 fluorowanych gazów cieplarnianych, jak również dla urządzeń będących rozdzielnicami elektrycznymi zawierającymi fluorowane gazy cieplarniane w ilości co najmniej 5 ton ekwiwalentu CO2 lub stacjonarnych urządzeń zawierających rozpuszczalniki na bazie fluorowanych gazów cieplarnianych w ilości co najmniej 5 ton ekwiwalentu CO2, z zastrzeżeniem art. 4 ust. 1 rozporządzenia (UE) nr 517/2014, sporządza się w formie Karty Urządzenia, a w przypadku urządzeń będących stacjonarnymi systemami ochrony przeciwpożarowej zawierających co najmniej 3 kg substancji kontrolowanych lub co najmniej 5 ton ekwiwalentu CO2 fluorowanych gazów cieplarnianych, w formie Karty Systemu
Ochrony Przeciwpożarowej.

3. Karta Urządzenia oraz Karta Systemu Ochrony Przeciwpożarowej zawierają w szczególności:

4) zestawienie wykonanych czynności dotyczących instalowania, konserwacji lub serwisowania i kontroli szczelności, naprawy oraz naprawy nieszczelności i likwidacji urządzenia, w tym:

c) informacje na temat instalowania systemów wykrywania wycieków w urządzeniu oraz ich kontrolowania zgodnie z art. 5 rozporządzenia (UE) nr 517/2014,

Art. 48. Administracyjną karę pieniężną w wysokości od 4 000 do 10 000 zł wymierza się za:

9) niezapewnienie, wbrew art. 5 rozporządzenia (UE) nr 517/2014, zainstalowania systemów wykrywania wycieków, z wyłączeniem stacjonarnych systemów ochrony przeciwpożarowej;
10) niezapewnienie w terminie, o którym mowa w art. 5 rozporządzenia (UE) nr 517/2014, kontroli systemów wykrywania wycieków, z wyłączeniem stacjonarnych systemów ochrony przeciwpożarowej;
11) niezapewnienie, wbrew art. 5 rozporządzenia (UE) nr 517/2014, zainstalowania w stacjonarnych systemach ochrony przeciwpożarowej zawierających fluorowane gazy cieplarniane w ilości 500 ton ekwiwalentu CO2 lub większej systemów wykrywania wycieków;
12) niezapewnienie w terminie, o którym mowa w art. 5 rozporządzenia (UE) nr 517/2014, kontroli systemów wykrywania wycieków zainstalowanych w stacjonarnych systemach ochrony przeciwpożarowej zawierających fluorowane gazy cieplarniane w ilości 500 ton ekwiwalentu CO2 lub większej;

Artykuł 4
Kontrole szczelności

  1. Operatorzy urządzeń, które zawierają fluorowane gazy cieplarniane w ilości 5 ton ekwiwalentu CO2 lub większej i niezawarte w piankach, zapewniają, aby urządzenia były poddawane kontrolom szczelności. Hermetycznie zamknięte urządzenia, zawierające fluorowane gazy cieplarniane w ilościach mniejszych niż 10 ton ekwiwalentu CO2, nie podlegają kontrolom szczelności na podstawie niniejszego artykułu, pod warunkiem że urządzenia te są
    oznakowane jako hermetycznie zamknięte.

  2. Ust. 1 ma zastosowanie do operatorów następujących urządzeń, które zawierają fluorowane gazy cieplarniane:
    a) stacjonarne urządzenia chłodnicze;
    b) stacjonarne urządzenia klimatyzacyjne;
    c) stacjonarne pompy ciepła;
    d) stacjonarne urządzenia ochrony przeciwpożarowej;
    e) agregaty chłodnicze samochodów ciężarowych chłodni i przyczep chłodni;
    f) rozdzielnice elektryczne;
    g) organiczne obiegi Rankine’a.
    Jeżeli chodzi o urządzenia, o których mowa w akapicie pierwszym lit. a)–e), kontrole są przeprowadzane przez certyfikowane osoby fizyczne zgodnie z przepisami przewidzianymi w art. 10.

  3. Kontrole szczelności zgodnie z ust. 1 przeprowadza się z następującą częstotliwością:
    a) w przypadku urządzeń, które zawierają fluorowane gazy cieplarniane w ilości 5 ton ekwiwalentu CO2 lub większej, ale mniejszej niż 50 ton ekwiwalentu CO2: co najmniej raz na 12 miesięcy lub co najmniej raz na 24 miesiące, jeżeli mają zainstalowany system wykrywania wycieków;
    b) w przypadku urządzeń, które zawierają fluorowane gazy cieplarniane w ilości 50 ton ekwiwalentu CO2 lub większej, ale mniejszej niż 500 ton ekwiwalentu CO2: co najmniej raz na sześć miesięcy lub co najmniej raz na 12 miesięcy, jeżeli mają zainstalowany system wykrywania wycieków;
    c) w przypadku urządzeń, które zawierają fluorowane gazy cieplarniane w ilości 500 ton ekwiwalentu CO2 lub większej: co najmniej raz na trzy miesiące lub co najmniej raz na sześć miesięcy, jeżeli mają zainstalowany system wykrywania wycieków.

Artykuł 5
Systemy wykrywania wycieków

  1. Operatorzy urządzeń wymienionych w art. 4 ust. 2 lit. a)–d), zawierających fluorowane gazy cieplarniane w ilościach 500 ton ekwiwalentu CO2 lub większej, zapewniają, aby urządzenia te były wyposażone w system wykrywania wycieków, który alarmuje operatora lub firmę serwisową o każdym wycieku.
  2. Operatorzy urządzeń wymienionych w art. 4 ust. 2 lit. f) i g), zawierających fluorowane gazy cieplarniane w ilościach 500 ton ekwiwalentu CO2 lub większej i zainstalowanych od dnia 1 stycznia 2017 r., zapewniają, aby urządzenia te były wyposażone w system wykrywania wycieków, który alarmuje operatora lub firmę serwisową o każdym wycieku.
  3. Operatorzy urządzeń wymienionych w art. 4 ust. 2 lit. a)–d) i g), które podlegają przepisom ust. 1 lub 2 niniejszego artykułu, zapewniają, aby systemy wykrywania wycieków były kontrolowane co najmniej raz na 12 miesięcy w celu zapewnienia ich właściwego działania.
  4. Operatorzy urządzeń wymienionych w art. 4 ust. 2 lit. f), które podlegają przepisom ust. 2 niniejszego artykułu, zapewniają, aby systemy wykrywania wycieków były kontrolowane co najmniej raz na 6 lat w celu zapewnienia ich właściwego działania.

Cześć 1: Wymagania podstawowe, definicje, klasyfikacja i kryteria wyboru.

Rozdział 3
Terminy i definicje

3.8.7. Wykrywacz czynnika chłodniczego – czujnik, który reaguje na wcześniej ustalone stężenia gazu czynnika chłodniczego w środowisku.

Część 3: Usytuowanie instalacji i ochrona osobista.

Rozdział 7
Urządzenia alarmowe

7.1. Postanowienie ogólne. W przypadku gdy w maszynowni i/lub w przestrzeni użytkowej zastosowano alarm w celu ostrzegania o wycieku czynnika ziębniczego, powinien on ostrzegać o wycieku czynnika w sposób zgodny z 7.3.

7.3. Sygnały ostrzegawcze instalacji alarmowej. Instalacja alarmowa powinna generować sygnały ostrzegawcze zarówno akustyczne, jak i świetlne. (…) Instalacja alarmowa powinna wysyłać sygnały ostrzegawcze zarówno do wewnątrz, jak i na zewnątrz maszynowni.

Rozdział 8
Wykrywacze

8.1. Postanowienia ogólne. (…) Zadaniem instalacji wykrywającej dowolne czynnik ziębnicze (…) jest podnoszenie alarmów i uruchamianie wentylacji w przypadku, gdy stężenie czynnika ziębniczego przekroczy 25 % LFL lub 50 % wartości stosunku ATEL/ODL.
8.2. Miejsce zamontowania wykrywaczy należy wybierać w zależności od czynnika ziębniczego, do którego są przeznaczone. Powinny być one umieszczane w miejscach, w których będzie się gromadzić czynnik ziębniczy wydostający się z instalacji przez nieszczelności.

Refrigerant groups

  • CFC
  • HCFC
  • HFC, HC
  • HFO

Location of detectors

  1. As close as possible to the potential source of the refrigerant leak; bottom edge of detector 0.3 m above floor level.
  2. In a place not at risk of direct exposure to outside air, water vapour, liquids, oily vapours, flue gases.
  3. Away from supply air vents, window and door openings.

Standard configurations of gas detection systems

Example 1
System topology
Star
Supply voltage of the control unit
230 V AC
Control unit
MD-2
Maximum number of gas detectors
2
Emergency power backup


Sensor semiconductor
Type of device: DG/F — Threshold detectors of toxic and combustible gases (also oxygen and refrigerants) with splash-proof construction
Type of device: MD-1, MD-2, MD-4 — Control and power supply units for 1 or up to 2/4 of DEX/F, DEX/A, DG/F or DG.EN threshold gas detectors
Type of device: SL-32 — Visual and acoustic warning devices for visual and acoustic signalling of alarm conditions
Type of device: GSM — Devices designed for remote monitoring of gas detection system status
Type of device: SW-20 — Double switches for 230 AC power supply
Example 2
System topology
Star
Supply voltage of the control unit
230 V AC
Control unit
MD-4
Maximum number of gas detectors
4
Emergency power backup


Sensor semiconductor
Type of device: DG/F — Threshold detectors of toxic and combustible gases (also oxygen and refrigerants) with splash-proof construction
Type of device: MD-1, MD-2, MD-4 — Control and power supply units for 1 or up to 2/4 of DEX/F, DEX/A, DG/F or DG.EN threshold gas detectors
Type of device: SL-32 — Visual and acoustic warning devices for visual and acoustic signalling of alarm conditions
Type of device: GSM — Devices designed for remote monitoring of gas detection system status
Type of device: SW-20 — Double switches for 230 AC power supply
Example 3
System topology
Bus
Supply voltage of the control unit
24 V DC
Control unit
MDD-256/T
Maximum number of gas detectors
224
Emergency power backup


Sensor semiconductor
Coming soon
Type of device: DG/M — Concentration measurement and detection devices for toxic and combustible gases (also oxygen and refrigerants) with splash-proof construction and RS-485 bus connectivity
Type of device: MDD-256/T — Addressable control units for supervision of the Digital Gas Detection System, TS35 rail mounting
Type of device: MDD-L32/T — Addressable executive units for status visualization of 32 detectors, TS35 rail mounting
Type of device: MDD-S2 — Addressable alarm output units for controlling visual and acoustic warning devices
Type of device: SL-32 — Visual and acoustic warning devices for visual and acoustic signalling of alarm conditions
Type of device: PU/T — Switch-mode universal power supplies, TS35 rail-mounted
Type of device: CB — RS-485 bus terminal boxes designed for use in Digital Gas Detection System
Type of device: MDD-CV/T — Digital signal converter allows to connect any PC/laptop to the RS-485 port of the MDD-256/T type supervisory control module
Modular switchgear with TS35 rails, equipped and wired according to customer requirements (ready for installation)

Attachments