DG-9E5.EN/M
Do wyczerpania zapasów
Do wyczerpania zapasów
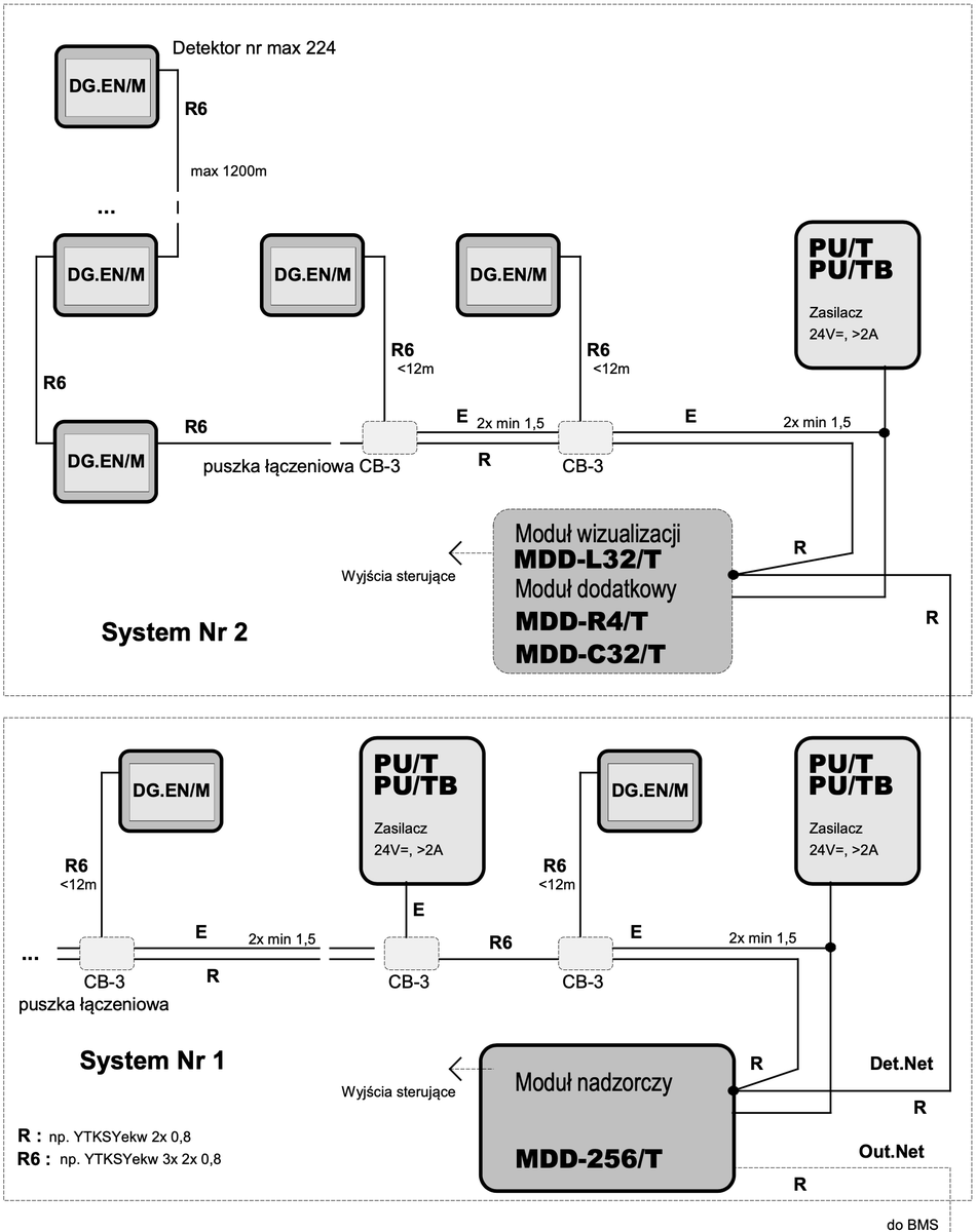
Typ urządzenia » Progowe, systemowe detektory gazów DG.EN/M – Ekonomiczne progowe detektory gazów toksycznych, wybuchowych, tlenu (O2) lub czynników chłodniczych o budowie bryzgoszczelnej (wyposażone w magistralę RS-485)
Model urządzenia » DG-9E5.EN/M
Parametry techniczne
- Sygnalizacja optyczna, wbudowana
- ✓
- Komunikacja cyfrowa w standardzie RS-485
- ✓
- Napięcie zasilania
- 24 V=
- Wymiary
- —
- Kod EAN
- 5907704091516
- Cena
-
629,00 zł netto N
773,67 zł brutto
| Moduł sensoryczny | Sensor | Medium | Standardowe progi alarmowe | Zakres pomiarowy | J.m. |
|---|---|---|---|---|---|
| MS-9E5.EG | Elektrochemiczny |
Tlen (O2) |
19/18/17 |
— |
%v/v |
Dokumentacja
| Seria | Dane techniczne | Instrukcja obsługi | Deklaracja zgodności |
|---|---|---|---|
| W6 | Pobierz plik | — | Pobierz plik |